AK4495 32-Bit Stereo DAC
AKM introduces a 32-bit stereo DAC for high-end audios, such as blue-ray, network audio, SACD players, AV receivers, digital mixers, and professional audios
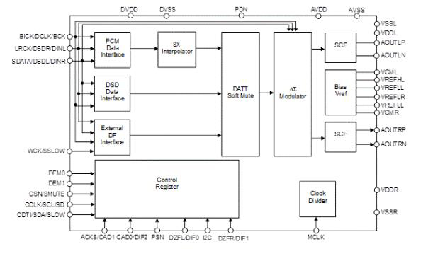
AKM’s AK4495 is high performance 32-bit stereo DAC that achieves 123 dB dynamic range for stereo and 126 dB for mono outputs (with optional 7 V analog power supply). An internal circuit includes newly developed 32-bit digital filters for better sound quality, achieving low distortion characteristics and wide dynamic range. The AK4495 has full differential SCF outputs, removing the need for AC coupling capacitors and increasing performance for systems with excessive clock jitter. The AK4495 accepts up to 768 kHz PCM data and 5.6 MHz DSD data, ideal for a wide range of applications including network audio and SACD.
The AK4495 integrates a newly developed circuit achieving rich sound field and bass representation that realizes a music playback experience with less distortion. As a sound quality consideration, the VDD, VREFH, VSS, and VREFL pins are distributed for each L and R channel. Besides that, each L and R channel of these has two pins to avoid common impedance effects and to achieve low impedance performance as much as possible.
Five digital filters are integrated into the AK4495: a short delay, sharp roll-off filter and a short delay, slow roll-off filter for minimum delay, a sharp roll-off filter and a slow roll-off filter for no phase shifting, and newly integrated super slow roll-off filter having emphasized characteristics, providing a wide range of choice in digital filters.
This is a flagship addition to AKM’s VERITA series of product in the Audio 4 ProTM family that adopts a newly developed VELVET SOUNDTM technology. An innovative design technique utilizing a symmetrical layout for the left and right channels prevents signal quality deterioration, and a 32-bit digital operation block provides full 32-bit processing.
| Features | |
|
|
AK4495 32-Bit Stereo DAC
| Image | Manufacturer Part Number | Description | Sampling Rate (Per Second) | Data Interface | Available Quantity | Price | ||
|---|---|---|---|---|---|---|---|---|
![]() | ![]() | AK4495EQ | IC DAC/AUDIO 32BIT 768K 44LQFP | 768k | DSD, I2S | 0 - Immediate | See Page for Pricing | View Details |



